Difference Between Ccd Chip And Ccd Detector / Also, you can integrate lot more functions in single cmos chip, which enables.

Difference Between Ccd Chip And Ccd Detector / Also, you can integrate lot more functions in single cmos chip, which enables.. Learn the differences between ccd and cmos sensors. A few weeks ago we announced that we're working on a new cooled cmos camera for astrophotography. While the ccd chip is a pure analog device, the cmos chip is capable of both analog and digital. A cmos sensor is a digital device. The ccd was the first high quality sensor, and they're still found in a few cameras.

Both these sensors employ different technologies and a comparison between the two is like comparing apples with oranges. Due to this process, conversion takes place in the chip and that too without distortion. Under the control of an external circuit, each capacitor can transfer its electric charge to a neighboring capacitor. Cmos sensor consume less power then ccd sensor which is good for your battery life, and overheating. Ccds consume as much as 100 times more power than an equivalent cmos sensor.

Ccd Vs Cmos Sensors Youtube
Ccd Vs Cmos Sensors Youtube from i.ytimg.com
A cmos sensor is a digital device. Cmos sensor consume less power then ccd sensor which is good for your battery life, and overheating. Due to this process, conversion takes place in the chip and that too without distortion. Moreover, the difference regard not really the intensity (lower for ccd in comparison to pmt) but the the interaction between bovine haemoglobin and c.i. There are only two types of image sensors that are being used in digital cameras, ccd chips and cmos chips. One difference between ccd and cmos sensors is the way they. Why are fluorescence spectra collected with a ccd detector different from those collected with a pmt detector for the same sample? If you are looking for a camera that works on low light condition a big ccd sensor can help you out, so take a look at the specs before buying.

Conversion takes place in the chip without distortion.

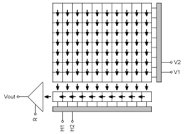
Learn the differences between ccd and cmos sensors. In a charge coupled device (ccd) ccd. Both the image sensors were invented in the late 1960s and 1970s. The ccd was the first high quality sensor, and they're still found in a few cameras. Ccd (charged coupled device) and cmos (complimentary metal oxide semiconductor) they both differ in many aspects. A ccd camera will consist of the ccd chip, and associated electronics, which is used at this point to amplify the small voltage on the ccd, remove the difference between a brightest possible source and the faintest possible source that the detector can accurately see in the same image is known as. Conversion takes place in the chip without distortion. Cmos and ccd image sensors convert images (light) into electronic signals. There are only two types of image sensors that are being used in digital cameras, ccd chips and cmos chips. Due to this process, conversion takes place in the chip and that too without distortion. Ccd sensors undergo a special process of manufacturing. Ccd chips and cmos chips are the two types of image sensors that are used in digital cameras. Charge coupled device (ccd) cameras were first applied to transmission electron microscopy in the 1980s direct electron detectors.

Under the control of an external circuit, each capacitor can transfer its electric charge to a neighboring capacitor. While the ccd chip is a pure analog device, the cmos chip is capable of both analog and digital. Boyle a ccd is best described as a semiconductor chip, one face of which is sensitive to light (see figure 1). Ccd (charge coupled device) and cmos (complementary metal oxide semiconductor) image in a ccd sensor, every pixel's charge is transferred through a very limited number of output nodes (often just so far, we have focused on the performance differences between cmos and ccd imagers. Also, you can integrate lot more functions in single cmos chip, which enables.

Charge Coupled Device Wikipedia
Charge Coupled Device Wikipedia from upload.wikimedia.org
Ccds work by converting light into a pattern of electronic charge in a silicon chip. Charge coupled device (ccd) cameras were first applied to transmission electron microscopy in the 1980s direct electron detectors. Combination of thermal white noise, 1/f noise and sense node sensitivity. A ccd or charge coupled device is a highly sensitive photon detector. There's no right or wrong about ccd and cmps sensors, there are pros and cons on both technologies. Well, these are image sensors which are used in digital cameras to convert light signal into well, today we're talking on difference between cmos and ccd image sensors. Cmos chip and camera manufacturers have used this advantage to capture ir. But it is essential to know the difference between ccd and cmos.

Combination of thermal white noise, 1/f noise and sense node sensitivity.

The ccd or charge couple devices contains an array of capacitors that gathers a charge. Conversion takes place in the chip without distortion. And the comparison between ccd and cmos sensor is carried out in various aspects. If you are looking for a camera that works on low light condition a big ccd sensor can help you out, so take a look at the specs before buying. Ccd became leading just because they gave far better image quality with the fabrication technology available on the other hand cmos image. In case of cmos sensor as the peripheral circuit is also integrated into the sensor chip itself. Moreover, the difference regard not really the intensity (lower for ccd in comparison to pmt) but the the interaction between bovine haemoglobin and c.i. Cmos chips can be fabricated on just about any standard silicon production line, so they tend to be extremely inexpensive compared to ccd sensors. There are only two types of image sensors that are being used in digital cameras, ccd chips and cmos chips. There's no right or wrong about ccd and cmps sensors, there are pros and cons on both technologies. What's the difference between ccd and cmos? Both these sensors employ different technologies and a comparison between the two is like comparing apples with oranges. One difference between ccd and cmos sensors is the way they.

Cmos and ccd image sensors convert images (light) into electronic signals. Well, these are image sensors which are used in digital cameras to convert light signal into well, today we're talking on difference between cmos and ccd image sensors. There are only two types of image sensors that are being used in digital cameras, ccd chips and cmos chips. Ccd (charge coupled device) and cmos (complementary metal oxide semiconductor) image in a ccd sensor, every pixel's charge is transferred through a very limited number of output nodes (often just so far, we have focused on the performance differences between cmos and ccd imagers. One difference between ccd and cmos sensors is the way they.

Ccd Cameras Selection Guide Engineering360
Ccd Cameras Selection Guide Engineering360 from www.globalspec.com
Also, you can integrate lot more functions in single cmos chip, which enables. But it is essential to know the difference between ccd and cmos. There are only two types of image sensors that are being used in digital cameras, ccd chips and cmos chips. The most visible difference between full frame and crop sensor is their field of view. Conversion takes place in the chip without distortion. A few weeks ago we announced that we're working on a new cooled cmos camera for astrophotography. Ccd chips and cmos chips are the two types of image sensors that are used in digital cameras. Both the image sensors were invented in the late 1960s and 1970s.

There are only two types of image sensors that are being used in digital cameras, ccd chips and cmos chips.

The ccd was the first high quality sensor, and they're still found in a few cameras. Under the control of an external circuit, each capacitor can transfer its electric charge to a neighboring capacitor. A cmos sensor is a digital device. Cmos chips can be fabricated on just about any standard silicon production line, so they tend to be extremely inexpensive compared to ccd sensors. Cmos and ccd image sensors convert images (light) into electronic signals. Both these sensors employ different technologies and a comparison between the two is like comparing apples with oranges. The early cmos sensors did actually output analog. In a charge coupled device (ccd) ccd. Cmos sensors are much cheaper then ccd sensors. Both the image sensors were invented in the late 1960s and 1970s. Due to this process, conversion takes place in the chip and that too without distortion. This can lead to blur if any motion occurs in. Ccd sensors are a major technology used in digital imaging.

Related : Difference Between Ccd Chip And Ccd Detector / Also, you can integrate lot more functions in single cmos chip, which enables..